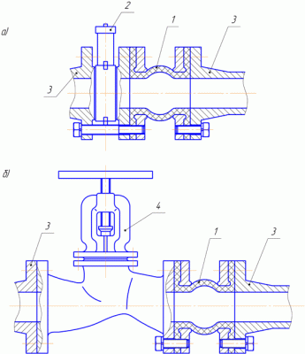
Вставка компенсационная резинокордная Ду-200 В95
Диаметр труб, мм: 200
Давление удерж. воды в трубе, Мпа: 1
Оболочка: резинокордная
Рабочая температура среды, С: 0...+90°
Ду=200мм
Размеры: D=335 мм, D1=295 мм, В=95мм, d=20мм
Количество отверстий = 8
Резинокордные компенсационные вставки (вибровставки) служат для компенсации монтажных, температурных и рабочих смещений, соединяемых трубопроводов, а также для снижения уровня вибрации и шума трубопроводов и насосных установок. Используются для облегчения монтажа и демонтажа задвижек, устанавливаются вместо задвижек на период их ремонта, монтируются на всасывающих и напорных линиях насосных установок.
Резинокордные компенсационные вставки (вибровставки) находят широкое применение на водопроводных, канализационных и тепловых сетях.
Для каждого условного диаметра выпускается по несколько разновидностей вставок, отличающихся шириной «В», что позволяет облегчить подбор вставок для конкретных условий эксплуатации. В частности, при установке дисковых затворов вместо задвижек, для компенсации различий по ширине задвижек и дисковых затворов, широко используются резинокордные компенсационные вставки, устанавливаемые последовательно с затворами, при этом облегчается и удешевляется монтаж затворов.
Компенсационные вставки используются в технологических линиях цехов химводоподготовки, благодаря тому, что резины, из которых изготавливаются вставки стойки к химическим реагентам и коагулянтам. Вставки находят так же применение в энергетике, при реконструкции и ремонте котельных и других объектов, с успехом заменяя патрубки из нержавеющей стали. Резинокордные вставки могут применяться для электрической развязки металлических трубопроводов. Форма вставок рассчитана таким образом, что при подаче давления они являются безраспорными, т.е. не оказывают силового воздействия на соединяемые трубопроводы. Все вставки армированы высокопрочным капроновым кордом и имеют трехкратный запас прочности по разрушающему давлению. Длительная эксплуатация вставок подтвердила их надежность и долговечность. Гарантийный срок эксплуатации вставок 5 лет.
Вставки резинокордные выпускаются по ТУ 2539-002-23770232-2003. По желанию заказчика могут выпускаться требуемые модификации компенсационных вставок, как по геометрическим размерам, так и по свойствам резины.
ХАРАКТЕРИСТИКИ ВСТАВОК
Условные диаметры вставок - 40, 50, 65, 80, 100, 125, 150, 200, 250, 300 ммРабочее давление перекачиваемой воды - 10 атм
Рабочее разряжение - 0,5 атм
Разрушающее давление - не менее 30 атм
Температура воды - от 0° до 90° С
Смещения трубопроводов,компенсируемые вставками:
- осевое - до 4 мм
- радиальное - до 3 мм
Для удобства Покупателей на сайте присутствует корзина, добавив товар в корзину отправьте заказ на обработку, наши специалисты в кратчайшие сроки с Вами свяжутся.
Можно написать запрос по электронной почте или в чате на сайте и написать :
- интересующуй вас товар (название или артикул)
- ваши контактные данные
- ИНН вашей компании.
Далее, если вы закончили выбирать товар, нажмите кнопку Моя корзина.
На странице Моя корзина будут перечислены все выбранные вами товары.
В поле Количество вы можете изменить количество товара для покупки.
В колонке Действия над каждым товаром можно произвести следующие действия: либо удалить товар из корзины, либо отложить товар на будущее.
2. Оформление и подтверждение заказа
После ввода необходимой информации о доставке товара (Ф.И.О получателя, адрес доставки, контактные данные, вариант доставки, способ оплаты и т.д) для оформления заказа вам нужно нажать кнопку Оформить заказ.
Копия заказа будет выслана на ваш e-mail, указанный при оформлении заказа.
Внимание! Неправильно указанный номер телефона, неточный или неполный адрес могут привести к дополнительной задержке! Пожалуйста, внимательно проверяйте ваши персональные данные при регистрации и оформлении заказа.
Через некоторое время (обычно в течение часа) после оформления покупки, с вами свяжется наш менеджер по контактным данным, указанным при оформлении заказа. С менеджером можно будет согласовать точное время и сроки доставки, а также уточнить детали.
Примечание : Для постоянных клиентов на сайте магазина есть Регистрация.
В своем кабинете вы можете просмотреть содержимое корзины, историю своих заказов, а также повторить или отказаться от заказа, подписаться на рассылку новостей магазина.
Оплата по безналичному расчету доступна юридическим лицам и ИП (цены указаны с учетом НДС).
Заказ можно оформить следующим способом:
- запрос счета через корзину интернет-магазина
- запрос счета на почту sale@u-ves.ru
Получить Ваш заказ Вы можете одним из следующих способов:
1. Самовывоз:
-
Самовывоз производится по адресу: г. Казань, ул. Родины, д.7, оф. 153
-
Доставка по городу Казань: 600 рублей.
-
Сумма минимального заказа: 5000 рублей.
2. Доставка силами транспортных компаний:
В короткие сроки наша компания готова организовать доставку Вашего заказа и предлагает доставку следующими транспортными компаниями:
- ТК «Деловые Линии»
- Служба экспресс-доставки «СДЕК» (для малогабаритных грузов)
- Доставка до терминала ТК или ПВЗ в городе отправления – бесплатная.





